![]() | Phone: +49(0) 5691-6287-0 | ||
| Fax: +49(0) 5691-6287-29 | |||
| Contact: mailto: JOERNS GmbH |

FLOW WELLS AND AIR CLEANING HOODS FOR THROUGH-HOLE COMPONENTS
WIDE APPLICATION RANGE
For selective soldering and desoldering also on the assembled side of printed circuit boards.
Any form of connector or other multilead component can be reworked.
LEAD-FREE APPLICATIONS
All machines are equipped for lead-free use as a standard.
Retrofit to existing machines are available.
![]() |
|
SAFETY FOR ELECTRONIC COMPONENTS
The solder wave is restricted and directed from delicate areas.
Adjacent components are not touched by the molten solder.
AIR CLEANING HOODS
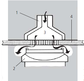
| As the molten solder is blown into the solderpot additional cleaning is not required. Consideration should be given to the area of the hood (approx. 3 mm greater than the component size) when dealing with closely spaced components. 1= air cleaning hood 2= flow well 3= air pressure 4= printed circuit board | ![]() |
| Air cleaning hoods are made of heat resistant silicon rubber. They form a seal over the location of the desoldered component, allowing the holes to be blown clean of molten solder by low air pressure (max.0.5 bar). | |
FLOW WELLS
| Correct flow well size is essential for complete desoldering of the component. Approx. 3 mm should be allowed on the inside dimension of the flow well in addition to the size of the lead pattern. 1= stand off 2= shaft | ![]() |
SPECIAL FLOW WELLS AND AIR CLEANING HOODS
Special flow wells and air cleaning hoods can be made in a variety of shapes to suit the individual requirements.
Drawings or samples of the assemblies will be required.
Maximum dimensions of flow wells: Length = 400 mm, Width = 100 mm
Maximum area: 150 cm2